| Description |
| – |
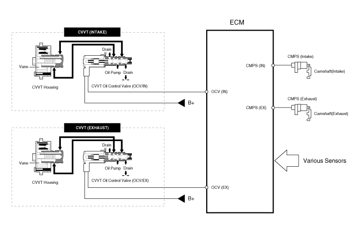
the CVVT Oil Control Valve (OCV) which supplies the engine oil to the
cam phaser or runs out the engine oil from the cam phaser in accordance
with the ECM PWM (Pulse With Modulation) control signal,
|
| – |
the CVVT Oil Temperature Sensor (OTS) which measures the engine oil
temperature,
|
| – |
and the Cam Phaser which varies the cam phase by using the hydraulic
force of the engine oil.
|

| Operation Principle |

| [CVVT System Mode] |

|
(1) Low Speed / Low Load |
(2) Partial Load |
|
|
|
|
(3) Low Speed / High Load |
(4) High Speed / High Load |
|
|
|
|
Driving Condition |
Exhaust Valve |
Intake Valve |
||
|
Valve Timing |
Effect |
Valve Timing |
Effect |
|
|
(1) Low Speed /Low Load |
Completely Advance |
* Valve Under-lap * Improvement of combustion stability |
Completely Retard |
* Valve Under-lap * Improvement of combustion stability |
|
(2) Part Load |
Retard |
* Increase of expansion work * Reduction of pumping loss * Reduction of HC |
Retard |
* Reduction of pumping loss |
|
(3) Low Speed /High Load |
Retard |
* Increase of expansion work |
Advance |
* Prevention of intake back flow (Improvement of volumetric efficiency) |
|
(4) High Speed /High Load |
Advance |
* Reduction of pumping loss |
Retard |
* Improvement of volumetric efficiency |
GPF (Gasoline Particulate Filter) Repair proceduresHyundai Kona (OS) 2018-2026 Owners Manual: Climate control air filter
Filter inspection
If the vehicle is operated in the severely air-polluted cities or on dusty rough
roads for a long period, it should be inspected more frequently and replaced earlier.
When you, the owner, replace the climate control air filter, replace it performing
the following procedure, and ...
Hyundai Kona (OS) 2018-2026 Service Manual: Special service tools
Special Service Tools
Tool (Number and Name)
Illustration
Application
Fuel Pressure Gauge
(09353-24100)
Measuring the fuel line pressure
Fuel Pressure Gauge Adapter
(09353-02100)
...