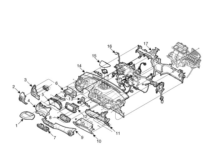
| Components (1) |

| 1. Crash pad assembly 2. Crash pad side cover [LH] 3. Crash pad side cover [RH] |
4. Crash pad lower panel 5. Steering column shroud lower panel |
| Componets (2) |

| 1. Cluster fascia upper panel 2. Side airvent duct assembly [LH] 3. Crash pad garnish assembly [LH] 4. Cluster fascia lower panel 5. Cluster assembly 6. Head up display 7. Center airvent duct assembly 8. Heater & A/C control assembly 9. Crash pad garnish assembly [RH] |
10. Glove box 11. Glove box housing cover 12. Audio assembly 13. Crash pad center panel assembly 14. Main crash pad assembly 15. Center speaker grill 16. Crash pad wiring 17. Cowl cross bar assembly |
Crash Pad
Cluster Fascia Panel Components and components locationHyundai Kona (OS) 2018-2026 Owners Manual: Emergency towing
If towing is necessary, we recommend you have it done by an authorized HYUNDAI
dealer or a commercial tow truck service.
If a towing service is not available in an emergency, your vehicle may be temporarily
towed using a cable or chain secured to the emergency towing hook at the front (or
rear) ...
Hyundai Kona (OS) 2018-2026 Owners Manual: Checking the amount of air conditioner refrigerant and compressor lubricant
When the amount of refrigerant is low, the performance of the air conditioning
is reduced. Overfilling also reduces the performance of the air conditioning system.
Therefore, if abnormal operation is found, we recommend that the system be inspected
by an authorized HYUNDAI dealer.
WARNING
Vehicles ...