| Schematic Digram |

| Terminal Function |

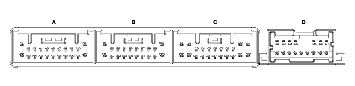
|
Pin |
Function |
||||||||
|
C22 |
Ignition 2_Heated handle power |
||||||||
|
C11 |
Heated handle |
||||||||
|
A21 |
NTC (-) |
||||||||
|
B15 |
NTC (+) |
||||||||
|
D10 |
Heated handle IND. |
Heated Steering wheel Specifications
Heated Steering wheel Repair proceduresHyundai Kona (OS) 2018-2025 Owners Manual: Fuses
A vehicle’s electrical system is protected from electrical overload damage by
fuses.
This vehicle has 2 (or 3) fuse panels, one located in the driver’s side panel
bolster, the other in the engine compartment.
If any of your vehicle’s lights, accessories, or controls do not work, check
the ...
Hyundai Kona (OS) 2018-2025 Owners Manual: Limitations of the system
The driver must be cautious in the below situations, because the system may not
detect other vehicles or objects in certain circumstances.
When a trailer or carrier is installed.
The vehicle drives in inclement weather such as heavy rain or snow.
The sensor is polluted with rain, snow, mud, etc ...