Hyundai Kona: Air Conditioning System / Ambient Temperature Sensor Repair procedures

Inspection
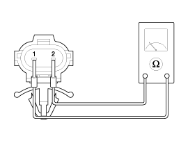
1.
Check the resistance of the ambient temperature sensor between terminals 1 and 2 whether it changes by changing the ambient temperature.

1. Ambient Sensor (+)

2. Sensor ground

Specification
Ambient temperature
[°C (°F)]
Resistance between terminal 1 and 2 (kΩ)
-10 (14)
164.2
0 (32)
97.5
10 (50)
59.6
20 (68)
37.46

Diagnosis With GDS
1.
The heating, ventilation and air conditioning can be quickly diagnosed failed parts with vehicle diagnostic system (GDS).
※ The diagnostic system (GDS) provides the following information.
(1) Self diagnosis : Checking the failure code (DTC) and display.
(2) Current data : Checking the system input/output data state.
(3) Actuation test : Checking the system operation condition.
(4) Additional function : Other controlling such as he system option and zero point adjustment.
2.
Select the 'Car model' and the system to be checked in order to check the vehicle with the tester.
3.
Select the 'Current data' menu to search the current state of the input / output data.
The input / output data for the sensors corresponding to the Ambient Temperature Sensor can be checked.

Replacement
1.
Disconnect the negative (-) battery terminal.
2.
Remove the front bumper.
(Refer to Body - "Front Bumper Cover")
3.
Disconnect the connector (A) and then remove the ambient temperature sensor (B).

4.
To install, reverse the removal procedure.
Ambient Temperature Sensor Description and operation
Description The ambient temperature sensor is located at the front of the condenser and detects ambient air temperature. It is a negative type thermistor; resistance will ...

Auto Defogging Sensor Description and operation
Description The auto defogging sensor is installed on the front window glass. The sensor judges and sends signal if moisture occurs to blow out wind for defogging. The ai ...

Other information:

Hyundai Kona (OS) 2018-2025 Service Manual: Intake Actuator Repair procedures
Inspection 1. Turn the ignition switch OFF. 2. Disconnect the intake actuator connector. 3. Verify that the intake actuator operates to the fresh position when connecting 12V t ...

Hyundai Kona (OS) 2018-2025 Owners Manual: Cargo area cover
Use the cover to hide items stored in the cargo area. The cargo area cover will lift when the tailgate is opened. Disconnect the strap (1) from the holder if you want to return the cover to the original position.To remove the cargo area cover completely, lift the cover to a 50-degree angle and pu ...

© 2018-2025 www.hkona.com