| Components |

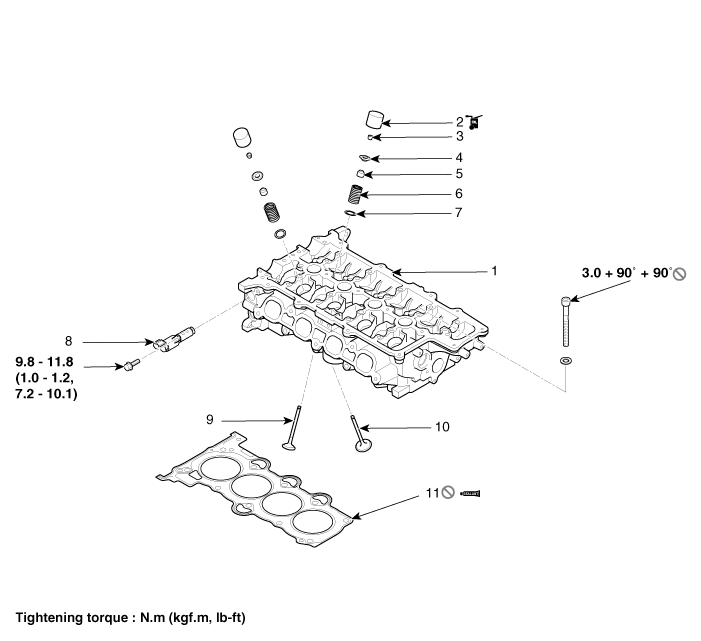
| 1. Cylinder head assembly 2. MLA 3. Retainer lock 4. Retainer 5. Valve stem seal 6. Valve spring |
7. Valve spring seat 8. OCV (Oil Control Valve) 9. Exhaust valve 10. Intake valve 11. Cylinder head gasket |
CVVT & Camshaft Repair procedures
Cylinder Head Repair proceduresHyundai Kona (OS) 2018-2026 Owners Manual: Checking the amount of air conditioner refrigerant and compressor lubricant
When the amount of refrigerant is low, the performance of the air conditioning
is reduced. Overfilling also reduces the performance of the air conditioning system.
Therefore, if abnormal operation is found, we recommend that the system be inspected
by an authorized HYUNDAI dealer.
WARNING
Vehicles ...
Hyundai Kona (OS) 2018-2026 Owners Manual: Pre-tensioner seat belt
Your vehicle is equipped with driver's and front passenger's and rear passengers
(if equipped) Pre-tensioner Seat Belts (Retractor Pretensioner).
The purpose of the pre-tensioner is to make sure the seat belts fit tightly against
the occupant's body in certain frontal or side collision(s). The pr ...