Hyundai Kona: Cylinder Head Assembly / CVVT & Camshaft Repair procedures
| 1. |
Remove the cylinder head cover.
(Refer to Cylinder Head Assembly - "Cylinder Head Cover")
|
| 2. |
Turn the crankshaft damper pulley so that No. 1 piston is at top dead
center.
| (1) |
Turn the crankshaft damper pulley and align its groove with
the timing mark on the timing chain cover (0° mark on the timing
scale).

|
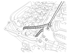
| (2) |
Check that the TDC timing marks on the intake and exhaust CVVT
sprockets are in a straight line on the cylinder head surface
as shown in the picture. If not, turn the crankshaft damper
pulley by one revolution (360°).

|
• |
Do not turn the crankshaft damper pulley counterclockwise.
|
|
|
| (3) |
Mark the timing chain links corresponding to the timing marks
on the CVVT sprockets with a indelible marker.

|
|
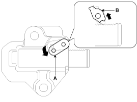
| 3. |
Remove the exhaust oil control valve (OCV) adaptor (A).

|
| 4. |
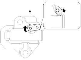
Remove the camshaft bearing caps (A) in the order shown in the picture.


|
| 5. |
Remove the engine mounting support bracket.
| (1) |
install the jack under the oil pan.

|
• |
Place a wooden block between the jack and the
oil pan to prevent damage to the oil pan.
|
|
|
| (2) |
Disconnect the engine ground cable (A).

|
| (3) |
Remove the engine mounting support bracket (A).
(Refer to Engine and Transaxle Assembly - "Engine Mounting")
|
| (4) |
Lift the engine slightly using the jack to obtain space.
|
|
| 6. |
Remove the service hole bolt (A).

|
| 7. |
Lock the timing chain tensioner in the fully retracted position.
| (1) |
Insert a pick into the service hole in the timing chain cover
and lower the hole in the left side of the ratchet plate (A)
on the tensioner to allow the pawl (B : located inside the tensioner
behind the rachet plate) to be lifted.


|
| (2) |
With the pawl lifted, have a helper pull up the exhaust CVVT
& camshaft (A) to allow the tensioner plunger (B) to retract.


|
| (3) |
With the tensioner plunger in the fully retracted position,
raise the hole in the left side of the ratchet plate (A) again
through the service hole in the chain cover to align the ratchet
plate hole with the hole in the tensioner body behind the ratchet
plate, then lock the tensioner by inserting the pick through
the ratchet plate and tensioner body holes.

|
|
| 8. |
Separate the exhaust camshaft (A) from the exhaust CVVT by removing
the bolt.

| •
|
When installing the CVVT assembly bolt, hold the camshaft
with a wrench to prevent the camshaft from rotating.
|
|
|
| 9. |
Remove the exhaust CVVT (A) from the timing chain.

|
| 10. |
Remove the intake CVVT & camshaft (A).

| •
|
Fasten the timing chain to the engine hanger with a
cable tie or strap not to allow the timing chain to
fall down when removing the intake CVVT & camshaft.

|
|
|
| 11. |
Remove the intake CVVT (A) from the intake camshaft (B).

| •
|
When removing the CVVT bolt, hold the hexagonal portion
(B) on the camshaft with a wrench to prevent the camshaft
from rotating.
|
|
|
Camshaft
| 1. |
Measure the height of the cam lobe using a micrometer and check the
surface of the cam lob for wear and tear. If necessary, replace the
camshaft.
|
Cam height
Intake : 44.15 mm (1.738 in.)
Exhaust : 42.90 mm (1.689 in.)
|

|
| 2. |
Inspect the cam lobe surface for abnormal wear and damage and replace
if necessary.
|
| 3. |
Check the surface of the camshaft journal for wear and tear. If the
camshaft journal is excessively damaged, replace the camshaft.
|
| 4. |
Inspect the camshaft journal clearance.
| (1) |
Clean the camshaft journals and bearing caps.
|
| (2) |
Place the camshafts in the cylinder head.
|
| (3) |
Lay a strip of plastigauge across each of the camshaft journals.

|
| (4) |
Install the bearing caps and tighten the bolts to the specified
torque.
|
Tightening torque
1st step
M6 bolt : 5.9 N.m (0.6 kgf.m, 4.3 lb-ft)
M8 bolt : 9.8 N.m (1.0 kgf.m, 7.2 lb-ft)
2nd step
M6 bolts :
11.8 - 12.7 N.m (1.2 - 1.3 kgf.m, 8.7 - 9.4 lb-ft)
M8 bolts :
18.6 - 22.6 N.m (1.9 - 2.3 kgf.m, 13.7 - 16.6 lb-ft)
|
|
• |
Do not turn the camshaft.
|
|
|
| (5) |
Remove the bearing caps.
|
| (6) |
Measure the plastigauge at the widest point. If the clearance
is greater than the specification, replace the camshaft. If
necessary, replace the bearing caps and the cylinder head as
a set.
|
Camshaft bearing cap oil clearance
Standard :
0.027 - 0.058 mm (0.0011 - 0.0023 in.)
Limit : 0.1 mm (0.0039 in.)
|

|
|
| 5. |
Inspect the camshaft end play.
| (1) |
Inspect the camshaft end play.
|
| (2) |
Measure the end play while moving the camshaft back and forth
using a dial gauge. If the end play is greater than the specification,
replace the camshaft. If necessary, replace the bearing caps
and the cylinder head as a set.
|
Camshaft end play
Standard : 0.1 - 0.2 mm (0.0039 - 0.0079 in.)
|

If the oil clearance is greater than maximum, replace the camshaft.
If necessary, replace cylinder head.
|
| (3) |
Remove the camshafts.
|
|
CVVT (Continuously Variable Valve Timing) Assembly
| 1. |
Inspect the CVVT for smooth rotation.
| (1) |
Clamp the camshaft using a vise. Be careful not to damage the
cam lobes and journals in the vise.
|
| (2) |
Check that the CVVT is locked by turning it clockwise or counterclockwise.
It must not rotate.
|
| (3) |
Intake CVVT : Seal one of the two advance holes in the camshaft
journal with tape.
Exhaust CVVT : Seal one of the two retard holes in the camshaft
journal with tape.
|
| (4) |
Intake CVVT : Apply approx. 150kPa (1.5kgf/cm, 21psi) of compressed
air into the unsealed advance hole to release the lock.
Exhaust CVVT : Apply approx. 150kPa (1.5kgf/cm, 21psi) of compressed
air into the unsealed retard hole to release the lock.
|
• |
Cover the oil paths with a piece of cloth when
applying compressed air to prevent oil from
spraying.
|
|
|
| (5) |
Intake CVVT : With compressed air applied, rotate the CVVT into
the advance direction (counterclockwise) within its phasing
range and check that the CVVT turns smoothly.
Exhaust CVVT : With compressed air applied, rotate the CVVT
into the retard direction (clockwise) and check that the CVVT
turns smoothly.
|
| (6) |
Intake CVVT : Rotate the CVVT into the most retarded position
(clockwise) and then check that the CVVT is locked.
Exhaust CVVT : Rotate the CVVT into the most advanced position
(counterclockwise) and then check that the CVVT is locked.
|
|
| 1. |
Install the intake CVVT (A) to the intake camshaft.
|
Tightening torque :
63.7 - 73.5 N.m (6.5 - 7.5 kgf.m, 47.0 - 54.2 lb-ft)
|

| •
|
When installing the CVVT bolt, hold the hexagonal portion
(B) on the camshaft with a wrench to prevent the camshaft
from rotating.
|
|
|
| 2. |
Install the intake CVVT & camshaft (A), with the timing mark on the
intake CVVT sprocket aligned with the mark (painted link) on the timing
chain.

|
| 3. |
Install the exhaust CVVT (A), with the timing mark on the exhaust CVVT
sprocket aligned with the mark (painted link) on the timing chain.

|
| 4. |
Install the exhaust camshaft (A) to the exhaust CVVT.
|
Tightening torque :
63.7 - 73.5 N.m (6.5 - 7.5 kgf.m, 47.0 - 54.2 lb-ft)
|

|
| 5. |
Remove the pick from the service hole in the timing chain cover.

|
| 6. |
Check that each timing mark of the intake and exhaust CVVT sprockets
is aligned as shown in the picture.

|
| 7. |
Install the bolt (A) to the service hole in the timing chain cover.
|
Tightening torque :
27.5 - 30.4 N.m (2.8 - 3.1 kgf.m, 20.3 - 22.4 lb-ft)
|

|
| 8. |
Install the engine mounting support bracket.
(Refer to Engine and Transaxle Assembly - "Engine Mounting")
| (1) |
Connect the engine ground cable (A).
|
Tightening torque :
10.8 - 13.7 N.m (1.1 - 1.4 kgf.m, 8.0 - 10.1 lb-ft)
|

|
| (2) |
Remove the jack from the oil pan.
|
|
| 9. |
Install the camshaft bearing caps (A) in the order shown in the picture
and tighten the bolts to the specified torque.
|
Tightening torque
1st step
M6 bolt : 5.9 N.m (0.6 kgf.m, 4.3 lb-ft)
M8 bolt : 9.8 N.m (1.0 kgf.m, 7.2 lb-ft)
2nd step
M6 bolts :
11.8 - 12.7 N.m (1.2 - 1.3 kgf.m, 8.7 - 9.4 lb-ft)
M8 bolts :
18.6 - 22.6 N.m (1.9 - 2.3 kgf.m, 13.7 - 16.6 lb-ft)
|


|
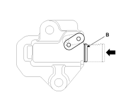
| 10. |
Install the exhaust oil control valve (OCV) adaptor (A).
|
Tightening torque :
9.8 - 11.8 N.m (1.0 - 1.2 kgf.m, 7.2 - 8.7 lb-ft)
|

| •
|
Check that the front camshaft bearing cap O-ring is
properly seated in place when installing the OCV adaptor.
|
|
|
| 11. |
Install the cylinder head cover.
(Refer to Cylinder Head Assembly - "Cylinder Head Cover")
|
Components
1. Exhaust camshaft
2. Intake camshaft
3. Exhaust CVVT
4. Intake CVVT
5. Camshaft bearing cap
6. Camshaft front bearing cap
7. O-ring
...
Components
1. Cylinder head assembly
2. MLA
3. Retainer lock
4. Retainer
5. Valve stem seal
6. Valve spring
7. Valve spring seat
8. OCV (Oil Cont ...
Other information:
Hyundai Kona (OS) 2018-2026 Owners Manual: Ignition switch
To reduce the risk of SERIOUS INJURY or DEATH, take the following precautions:
NEVER allow children or any person who is unfamiliar with the vehicle
to touch the ignition switch or related parts. Unexpected and sudden vehicle
movement can occur.
NEVER reach through the steering wheel for the ...
Hyundai Kona (OS) 2018-2026 Owners Manual: Digital speedometer ON/OFF
The digital speedometer can be turned on and off.
To turn on the digital speedometer, press the RESET button on the steering wheel
for more than one second when “SPEED OFF” is displayed. To turn off the digital
speedometer, press the RESET button for more than one second when “SPEED ON” i ...