| Description |
| Operation principle |

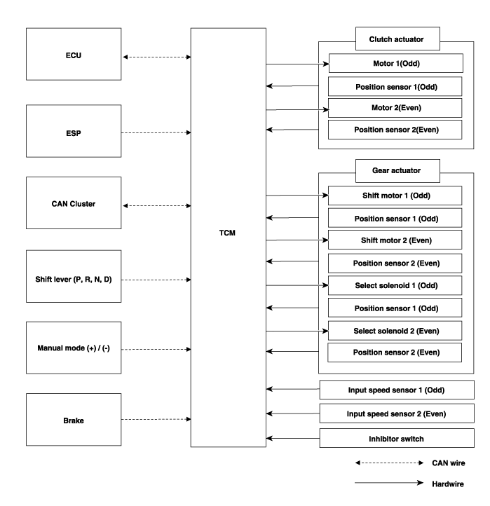
| Control System Logic |

Components and components locationHyundai Kona (OS) 2018-2026 Owners Manual: Maintenance Under Severe Usage and Low Mileage Conditions (Gasoline Engine,
except Europe)
The following items must be serviced more frequently on cars mainly used under
severe driving conditions. Refer to the chart below for the appropriate maintenance
intervals.
R : Replace
I : Inspect and if necessary, adjust, correct, clean or replace
Severe driving conditions
A : Repeatedly drivi ...
Hyundai Kona (OS) 2018-2026 Service Manual: Components and components location
Components
1. Front bumper side bracket
[LH]
2. Front bumper side bracket [RH]
3. Front bumper cover
...