Hyundai Kona: Timing System / Drive Belt Repair procedures

Removal
1.
Disconnect the battery negative terminal.
2.
Loosen the alternator tension mounting bolts (A).
3.
Loosen the adjusting bolt (B) clockuise in loose tension.

4.
Remove the drive belt (A).

Inspection
Drive Belt Inspection
1.
Visually check the belt for excessive wear, frayed cords etc.
If any defect has been found, replace the drive belt.
  
•
Cracks on the rib side of a belt are considered acceptable. If the belt has chunks missing from the ribs, it should be replaced.

Adjustment
Drive belt tension measurement and adjustment
Belt tension measurement
Measure the belt tension using a mechanical tension gauge or a sonic tension meter.
Tension
New Belt :
980.7 - 1078.7 N.m (100.0 - 110.0 kgf.m, 723.3 - 795.6 lb-ft)
Used Belt :
706.1 - 804.1 N.m (72.0 - 82.0 kgf.m, 520.8 - 593.1 lb-ft)
  
•
If the engine has run for 5 minutes or more, the belt tension must be adjusted as a used belt.
•
When installing the V-ribbed belt, all grooves on the pulley should be covered with belt ribs.
•
A loose belt causes slip noise.
•
Too tight belt cause bearing of alternator and water pump to damage.
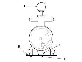
Using a mechanical tension gauge (BT-33-73F, BTG-2 type)
1.
While pressing the handle (A) of the gauge, insert the belt (B) between pulley and pulley (or idler) into the gap between spindle (C) and hook (D).

2.
After releasing the handle (A), read a value on the dial pointed by the indicator (B).

Using a sonic tension meter (U-505/507 type)
3.
Input the belt specifications into the tension meter.
Belt type
Location of measurement
Input data
M (Mass, g/m.rib)
W (Width, rib)
S (Span, mm)
With A/C
Crankshaft pulley to A/C compressor pulley
16.0
006.0
178.9
Without A/C
Idler to alternator pulley
16.0
006.0
Actual measurement value

  
•
Measurement of S (Span) : Caculate average value after measuring the distance 3-4 times.

D : Idlerd
d : Alternator pulley

4.
Locate the micro phone (B) close to the center of belt span (A) and bounce the belt by finger 2-3 times. Read a value on the display.
[With A/C]

[Without A/C]

If adjustment is necessary :
5.
Loosen the mounting bolts (A).
6.
Tighten the adjusting bolt (B) clockwise in loose tension; loosen the bolt counterclockwise in high tension.

7.
Recheck tension of the belt.
8.
After adjusting tension, tighten the through bolts.
Tightening torque
12 mm bolt :
24.3 - 26.9 N.m (2.48 - 2.74 kgf.m, 17.9 - 19.8 Ib-ft)
[Part No : 11403-08407B]
12 mm bolt :
26.9 - 32.4 N.m (2.7 - 3.3 kgf.m, 19.8 - 23.9 Ib-ft)
[Part No : 11405-08406K]
14 mm (0.55 in) bolt :
29.4 - 41.2 N.m (3.0 - 4.2 kgf.m, 21.7 - 30.4 Ib-ft)
Installation
1.
Install the drive belt (A).

2.
Adjust tension by tightening the alternator tension adjust bolt (B).
3.
Install the mounting bolts (A).
Tightening torque
12 mm bolt :
24.3 - 26.9 N.m (2.48 - 2.74 kgf.m, 17.9 - 19.8 Ib-ft) [Part No : 11403-08407B]
12 mm bolt :
26.9 - 32.4 N.m (2.7 - 3.3 kgf.m, 19.8 - 23.9 Ib-ft) [Part No : 11405-08406K]
14 mm (0.55 in) bolt :
29.4 - 41.2 N.m (3.0 - 4.2 kgf.m, 21.7 - 30.4 Ib-ft)

Drive Belt Components and components location
Components 1. Drive belt ...

Idler Components and components location
Components 1. Idler ...

Other information:

Hyundai Kona (OS) 2018-2026 Owners Manual: ISG (Idle Stop and Go) system
The ISG system is to reduce the fuel consumption by automatically shutting down the engine, when the vehicle is at a standstill (i.e. red stop light, stop sign, and traffic jam). The engine is automatically started upon satisfying the starting conditions. The ISG system is always active, when the ...

Hyundai Kona (OS) 2018-2026 Service Manual: Relay Box (Engine Compartment) Components and components location
Component Location Engine Room Junction Block Metal Core Block (PCB) ...

© 2018-2026 www.hkona.com