Hyundai Kona: Engine Mechanical System / Special service tools

Special Service Tools
Tool (Number and name)
Illustration
Use
Crankshaft front oil seal installer
(09455-21200)

Installation of the front oil seal
Valve stem oil seal installer
(09222-2B100)

Installation of the valve stem oil seal
Valve spring compressor and holder
A : (09222-3K000)
B : (09222-3K100)

Removal and installation of the intake or exhaust valve
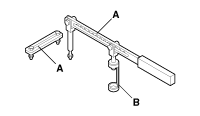
Crankshaft rear oil seal installer
A : (09231-H1100)
B : (09231-2B200)

Installation of the crankshaft rear oil seal
Oil pan remover
(09215-3C000)

Removal of oil pan
Torque angle adapter
(09221-4A000)

Installation of bolts & nuts needing an angular method
Ring gear stoppper
(09231-2B100)
(09231-3N100)

installation of crankshaft pulley bolt.
Ring gear stopper
(09231-3D100)
(09231-3D200)

Removal and installation of crankshaft pulley bolt.
Crankshaft pulley fix tool Washer

Removal and installation of crankshaft pulley bolt.
Oil filter wrench
(09263-2E000)

Remove and installation of oil filter

Troubleshooting
Troubleshooting Symptom Suspect area Remedy Engine misfire with abnormal internal lower engine noises. Loose or improp ...

Engine and Transaxle Assembly
...

Other information:

Hyundai Kona (OS) 2018-2025 Owners Manual: Warning message
Blind-Spot Collision Warning (BCW) system disabled. Radar blocked • This warning message may appear when : - One or both of the sensors on the rear bumper is blocked by dirt or snow or a foreign object. - Driving in rural areas where the BCW sensor does not detect another vehicle for an extende ...

Hyundai Kona (OS) 2018-2025 Service Manual: Components and components location
Component Location 1. Windshield wiper arm & blade 2. Wiper & washer switch 3. Windshield washer hose & nozzle 4. Washer motor & linkage assembly 5. Washer motor 6. Washer reservoir 7. Wiper/Washer relay (Built ...

© 2018-2025 www.hkona.com