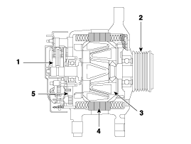
| Description |

| 1. Brush 2. OAP (Overrunning Alternator Pulley) 3. Rotor 4. Stator 5. Rectifier |
Alternator Specifications
Alternator Components and components locationHyundai Kona (OS) 2018-2026 Owners Manual: Introduction
With the Tire Mobility Kit you stay mobile even after experiencing a tire puncture.
The system of compressor and sealing compound effectively and comfortably seals
most punctures in a passenger car tire caused by nails or similar objects and reinflates
the tire.
After you ensured that the tire is ...
Hyundai Kona (OS) 2018-2026 Owners Manual: Warning message
Blind-Spot Collision Warning (BCW) system disabled. Radar blocked
• This warning message may appear when :
- One or both of the sensors on the rear bumper is blocked by dirt or snow or
a foreign object. - Driving in rural areas where the BCW sensor does not detect
another vehicle for an extende ...